您当前的位置:成果库 > 多臂耦合型碰撞式压电能量收集装置
基本信息
- 成果类型 高等院校
- 委托机构 西安电子科技大学
- 成果持有方 西安电子科技大学
- 行业领域 能量转换与储存
- 项目名称 多臂耦合型碰撞式压电能量收集装置
- 知识产权 发明专利
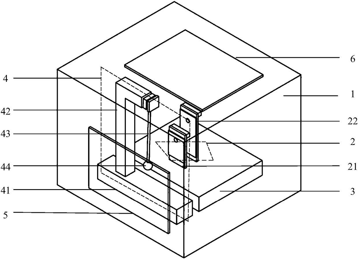
- 项目简介 本发明提出了一种多臂耦合型碰撞式压电能量收集装置,用于解决现有压电能量收集装置存在的能量收集效率低的技术问题,包括:外框、压电振子、第一基座、单摆结构、第一磁体和第二磁体,压电振子至少包括平行排列的第一压电振子和第二压电振子,其底端被固定在第一基座上,谐振时可以发生较强的相互耦合;单摆结构包括第二基座、连杆、摆杆和撞击球,连杆的底端固定在第二基座上,其顶端与摆杆的上端活动连接,撞击球固定在摆杆的下端,撞击球摆动时能够与第一压电振子或第二压电振子的自由端相撞;外框的底面固定有第一基座和第二基座,其靠近单摆结构的一侧固定有第一磁体,靠近压电振子的顶部固定有第二磁体。本发明有效地提高了能量收集效率。
-
交易信息
- 意向交易额 面议
- 挂牌时间 2018/03/06
- 委托机构 西安电子科技大学
- 联系人姓名 王小刚
- 联系人电话 15802954800
- 联系人邮箱 745490733@qq.com
- 分享至:


544
2018/08/15
咨询成果
发布成果