您当前的位置:成果库 > 一种环形桁架式可展开天线薄膜反射面与桁架的连接机构
基本信息
- 成果类型 高等院校
- 委托机构 西安电子科技大学
- 成果持有方 西安电子科技大学
- 行业领域 电子元器件
- 项目名称 一种环形桁架式可展开天线薄膜反射面与桁架的连接机构
- 知识产权 发明专利
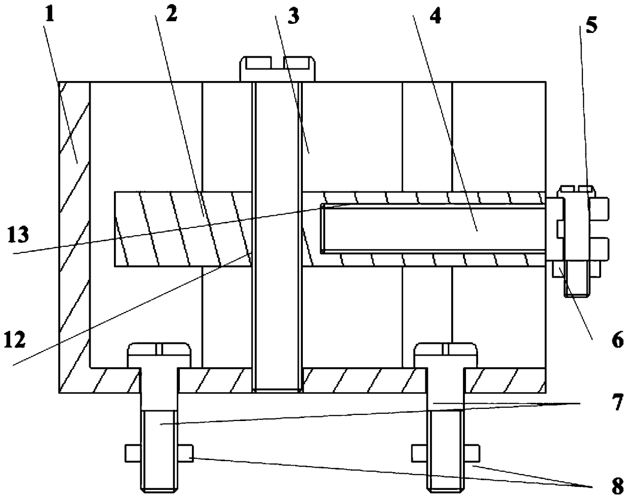
- 项目简介 本发明涉及一种环形桁架式可展开天线薄膜反射面与桁架的连接机构,其特征是:包括:基座、滑块、调节螺钉、开槽调节螺栓、限位螺钉、锁定螺母、安装螺栓、安装螺母;所述基座为一边开口的长方形槽体结构,在槽体内侧的两个长边上分别各有两个滑槽;一个长方形的滑块以长度方向被限位在滑槽内,使滑槽与滑块紧配合;所述滑块上有第一螺纹孔,调节螺钉与第一螺纹孔的螺纹连接,通过调节螺钉控制滑块在长方形槽体内上下移动。本发明具有工艺简单、使用方便、精度高、可展开等特点。
-
交易信息
- 意向交易额 面议
- 挂牌时间 2018/02/16
- 委托机构 西安电子科技大学
- 联系人姓名 王小刚
- 联系人电话 15802954800
- 联系人邮箱 745490733@qq.com
- 分享至:


452
2018/08/16
咨询成果
发布成果