您当前的位置:成果库 > 一种霍尔效应综合实验仪
基本信息
- 成果类型 高等院校
- 委托机构 西安电子科技大学
- 成果持有方 西安电子科技大学
- 行业领域 其他电子信息
- 项目名称 一种霍尔效应综合实验仪
- 知识产权 发明专利
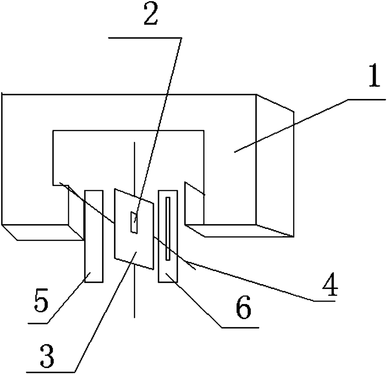
- 项目简介 本实用新型提供一种霍尔效应综合实验仪,包括直流电磁铁、霍尔片、振动片、调节支架、双掷开关、左侧调整槽、右侧固定槽,本实用新型通过重新规划和设计控制面板,采用左侧调整槽和右侧固定槽双槽联合作用等结构思路,解决了现有设备中霍尔片裸露在外,容易在磁铁缝隙中卡断的问题,采用工业开关和控制面板的重新布局解决了现有设备中双掷开关较薄、易磨损,消磁时易产生电火花加快氧化损坏,不容易判断霍尔片的导电类型等问题。
-
交易信息
- 意向交易额 面议
- 挂牌时间 2017/12/12
- 委托机构 西安电子科技大学
- 联系人姓名 王小刚
- 联系人电话 15802954800
- 联系人邮箱 745490733@qq.com
- 分享至:


458
2018/08/27
咨询成果
发布成果